Приспособления для проветривания теплицы.
Чтобы собрать хороший урожай, следует вовремя открывать и закрывать теплицы. Но как это сделать, если на даче вы не каждый день?
Есть отличный метод, где для данной цели применяется гидроцилиндр, который работает на фреоне-12, углекислоте либо других легкокипящих жидкостях. Или же приспособление, которое работает благодаря капроновым шарикам. Но изготовление подобных устройств упирается лишь в один вопрос, где найти фреон и капроновые шарики?
Не отчаивайтесь, есть выход. Можно сделать гидроцилиндр (рис. 1), который работает на обычном машинном масле.

Рис. 1 Внешний вид гидроцилиндра
Работает всё чётко и результативно. При цилиндре на 800—1000 г масла в промежутке температур от 20° до 35° поршень поднимает груз 8—10 кг на высоту около 140—160 мм. Этого хватает, чтобы поднять 3—4 пленочные рамы, соединенные друг с другом и шарнирно закрепленные на стропилах. Либо такое же количество остекленных рам, при условии, что всё хорошо сбалансировано (рис. 2, 3).

Рис. 2 Схема устройства для открывания рамы теплицы

Рис. 3 Устройства для открывания двери в теплице: 1 — гидроцилиндр; 2 — веревка, тросик; 3 — блок; 4 — противовес
Гидроцилиндр тоже может открывать одну дверь с противовесом (огуречные теплицы) либо две расположенные друг напротив друга двери, что важно для проветривания теплиц с помидорными растениями. Следует опытным путем установить температуру 25—28°.
Работа гидроцилиндра точная и не нуждается в особом уходе. Только температуре в теплице станет выше 25—28°, гидроцилиндр приступает к открытию рамы или же двери. Только набежит туча — начинает закрывать.
Можно применить и другое устройство. Принцип работы данного приспособления основан, главным образом, на расширении масла при увеличении его температуры. Самая важная деталь устройства — это труба, которая исполняет роль и резервуара для масла и подставки. При увеличении температуры масло выдвигает из трубы шток через резиновые уплотнения. При повышении температуры масла на 1° шток выдвигается на 1 см. Усилия штока — до 100 кг. Это устройство состоит из пяти элементов, трех резиновых колец, четырех болтов и масла.
Данное приспособление лучше размещать поближе к петлям крыши (рис. 4). В итоге получается всё так: при температуре в теплице 35° край крыши открывается на 70 см. Чтобы обеспечить открытие окна при низкой температуре, под трубу можно подложить дощечку. Стоит помнить, что в солнечный день при восходе солнца температура воздуха в теплице поднимается достаточно быстро, а вот масло в трубе не успевает так быстро нагреться. В итоге устройство начинает действовать с опозданием примерно 1—2 ч, когда температура в теплице уже станет 30—32°.

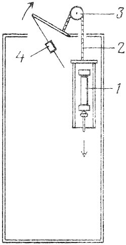
Рис. 4 Приспособление для проветривания теплицы: 1 — труба; 2 — шток; 3 — рама теплицы; 4 — регулирующая прокладка
